开云官方网页版



收藏远力|在线留言|网站地图

远力磁选机欢迎您-干式磁选机|湿式磁选机|永磁筒式磁选机!

远力磁电
磁选机和除铁器行业企业

远力咨询热线:13869611251

远力磁电,专注空气压缩系统和空气净化设备的设计、生产及销售
当前位置:主页 > 产品中心 > 永磁筒式磁选机 > >永磁筒式磁选机在垃圾焚烧电厂中应用
永磁筒式磁选机在垃圾焚烧电厂中应用

永磁筒式磁选机在垃圾焚烧电厂中应用

产品分类: 永磁筒式磁选机
      永磁筒式磁选机在垃圾焚烧电厂中应用,永磁筒式磁选机是专为垃圾焚烧及电厂中磁性矿漂洗和提纯选别设计的湿式磁选机,根据工艺要求对磁
    订购热线:13869611251
      永磁筒式磁选机在垃圾焚烧电厂中应用,永磁筒式磁选机是专为垃圾焚烧及电厂中磁性矿漂洗和提纯选别设计的湿式磁选机,根据工艺要求对磁性矿进行淘洗、精选提纯、脱泥浓缩。适用于:一段磨后的分级溢流产品的分选脱泥;二段磨前及过滤前的矿物浓缩;磁铁矿进入细筛筛分前的脱泥和反浮选之前的脱泥;磁铁矿的最终精选。
    永磁筒式磁选机在垃圾焚烧电厂中应用
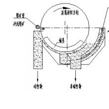
      一、永磁筒式磁选机在垃圾焚烧电厂中应用磁系

      1、采用管式给矿装置,通过溢流板溢流,达到均匀给矿的目的。

      2、磁系采用大包角设计达240-270度,多磁极设计,并可根据矿物性质和选矿的指标要求变换磁系结构,达到合理的选矿指标。

      3、筒体内设置有磁场搅动装置。

      4、采用顺流给矿方式,滚筒逆向旋转,设有多级漂洗水(可根据情况选择性启闭)。

      5、卸矿采用聚氨酯刮板两级卸料,确保卸料干净。

      6、传动系统采用变频调速。

      二、永磁筒式磁选机所选物料

      主要是用来对非金属矿去磁或者对金属矿选磁,适用于湿式分选强磁性矿物细颗粒,选矿粒度不得大于3mm。CTB永磁筒式磁选机经常用在磁铁矿、褐铁矿、菱铁矿等金属矿选矿、除铁、磁分离等领域,是钢铁、化工等行业的基础选矿设备。

      三、永磁筒式磁选机性能优势

      1、在滚筒上设置了双白钢筒皮结构,具有较强的耐磨性和韧性,降低了磨损,延长了使用寿命。

      2、永磁筒式磁选机的滚筒密封设置为0形圈密封,并进行了打压实验测试,防止了滚筒进水,同时保证了磁滚筒的正常工作。

      3、槽体设计增设了粗颗粒排出孔、排渣孔和清洗水管等附属部件,有效防止槽体沉矿,提高精矿品位。

      4、磁选结构的设计采用高性能的永磁体,即使在大流量条件下磁性质也不会丢失。

      5、永磁筒式磁选机采用进型减速电机,传动装置采用了精密滚子链轮,体积小,重量轻,方便移动工作。

      6、独特的结构设计,不仅保证了矿物在筒体表面的充分翻转,也提高了磁选效率。

      7、永磁筒式磁选机的运行可靠平稳,故障率低,操作维修方便。

      8、永磁筒式磁选机的处理量非常大,不仅适用于磁铁矿、焙烧矿、钛铁矿等矿物的湿式磁选,同时也应用于建筑、非金属矿、煤等物料的除铁工作。

    产品关键词:磁选机   永磁筒式磁选机   

    相关资讯

    联系远力磁电
    远力磁电热线:13869611251

    电话:13869611251

    传真:0536-3435877

    邮箱:yuanlicidian@126.com

    QQ:531899837

    地址:山东省临朐县城北环路